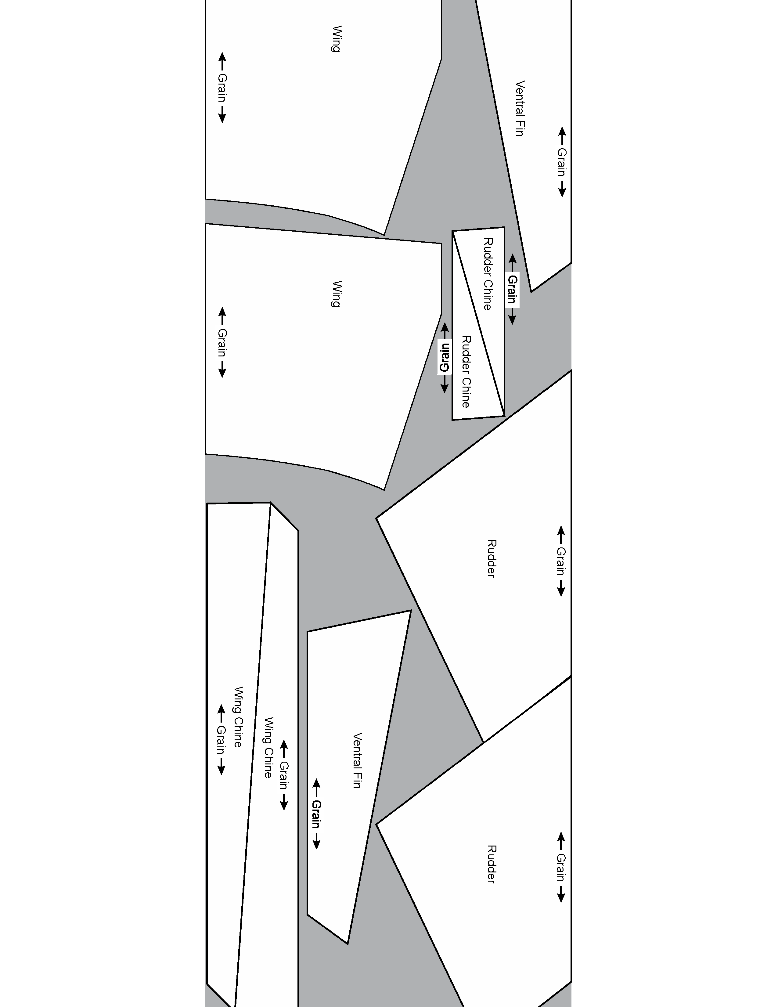
Interceptor Twilight
The Accur8 images are provided for free use under the requirement that they remain identified as John Pursley/Accur8 products.
All Accur8 images are being provided with permission from John Pursley's estate.
| Contributor: John Pursley |
| Contributor: Buzz McDermott |
![]() |
Portable Document Format file |
![]() |
XML Paper Specification file |
![]() |
![]() |
![]() |
![]() |
![]() |
![]() |
![]() |
![]() |
![]() |
![]() |
![]() |
![]() |
![]() |
![]() |